mirror of
https://gitee.com/wujiawei1207537021/wu-lazy-cloud-network.git
synced 2026-02-04 06:55:52 +08:00
4d6c5fcbd70587b948d31d464250ddb93bba522a
项目介绍
wu-lazy-cloud-network 是一款基于(wu-framework-parent)孵化出的项目,内部使用Lazy ORM操作数据库,使用环境JDK24 Spring Boot 3.5.0。的网络穿透、渗透工具支持Tcp、Http、Socks 主要功能:
- 服务端渗透客户端(网络穿透),对于没有公网IP的服务进行公网IP映射

- 服务端渗透服务端----本地同局域网内端口映射

- 客户端渗透服务端----本地端口映射到另一个服务端中的局域网端口

- 客户端渗透客户端----本地端口映射到另一个局域网端口

- 客户端代理服务端、客户端代理客户端、服务端代理服务端、服务端代理客户端(VPN)----异地组网搭建代理

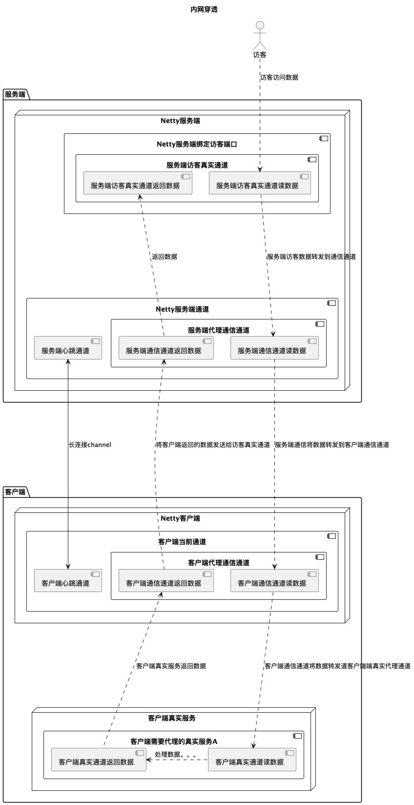
内网穿透
项目地址
架构图
通过客户端与服务端建立的连接进行访客端口绑定
上述连接会形成一个channel,我们称之为通道(本文中简单叫**心跳通道**)
第一步 页面GUI进行新增访客端口而后将访客端口与客户端绑定(如果客户端已经启动,使用页面客户端下线触发第二步)
第二步 客户端与访客端口绑定后使用**心跳通道** 发送客户端告诉客户端,你帮我绑定你本地真实端口
第三步 访客访问,访客通过访客端口访问数据,此时访客通道打开截取访客发送的数据,然后将数据发送给客户真实通道,数据返回后再返回给访客通道
功能
1.内网穿透
2.服务端自主下发数据到客户端
3.流量监控
4.网络代理(socks、http)
项目结构
| 模块 | 版本 | 描述 |
|---|---|---|
| wu-lazy-cloud-heartbeat-common | 1.3.4-JDK24-SNAPSHOT | 内网穿透公共模块(声明接口、枚举、常量、适配器、解析器) |
| wu-lazy-cloud-heartbeat-client | 1.3.4-JDK24-SNAPSHOT | 客户端(支持二次开发) |
| wu-lazy-cloud-heartbeat-server | 1.3.4-JDK24-SNAPSHOT | 服务端(支持二次开发) |
| wu-lazy-cloud-heartbeat-client-start | 1.3.4-JDK24-SNAPSHOT | 客户端样例 |
| wu-lazy-cloud-heartbeat-server-start | 1.3.4-JDK24-SNAPSHOT | 服务端样例 |
使用技术
| 框架 | 版本 | 描述 |
|---|---|---|
| spring-boot | 3.0.7 | springboot框架 |
| wu-framework-web | 1.3.4-JDK24-SNAPSHOT | web容器 |
| Lazy -ORM | 1.3.4-JDK24-SNAPSHOT | ORM |
| mysql-connector-j | 8.0.33 | mysql驱动 |
| wu-authorization-server-platform-starter | 1.3.4-JDK24-SNAPSHOT | 用户授权体系 |
使用环境
IDEA
Mac、Windows
JAVA >=17
MAVEN
启动install.md
docker启动
docker run -d -it -p 18080:18080 --name wu-lazy-cloud-heartbeat-server registry.cn-hangzhou.aliyuncs.com/wu-lazy/wu-lazy-cloud-heartbeat-server:1.3.4-JDK24-SNAPSHOT
http://127.0.0.1:18080/swagger-ui/index.html
源码启动
代理工具使用Proxy.md
页面操作
服务端渗透
客户端渗透
报表
路由
Description
wu-lazy-cloud-network 是一款基于(wu-framework-parent)孵化出的项目,内部使用Lazy ORM操作数据库,主要功能是网络穿透,对于没有公网IP的服务进行公网IP映射 使用环境JDK17 Spring Boot 3.0.2
Languages
Java
94.6%
Vue
4.5%
SCSS
0.4%
JavaScript
0.3%




















