mirror of
https://gitee.com/wujiawei1207537021/wu-lazy-cloud-network.git
synced 2026-02-04 06:55:52 +08:00
9324b516fd2811aa492304cb4a3eabcfc07e7048
项目介绍
wu-lazy-cloud-network 是一款基于(wu-framework-parent)孵化出的项目,内部使用Lazy ORM操作数据库,使用环境JDK17 Spring Boot 3.0.2。 主要功能:
- 服务端渗透客户端(网络穿透),对于没有公网IP的服务进行公网IP映射

- 服务端渗透服务端----本地同局域网内端口映射

- 客户端渗透服务端----本地端口映射到另一个服务端中的局域网端口

- 客户端渗透客户端----本地端口映射到另一个局域网端口

项目地址
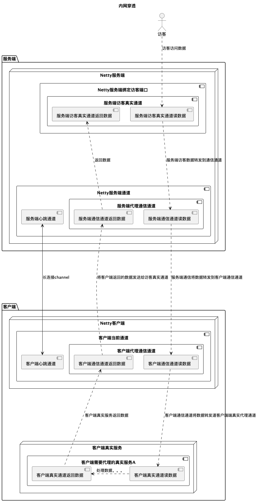
架构图
实现原理
服务端创建socket服务端绑定本地端口(用于客户端连接)
package org.framework.lazy.cloud.network.heartbeat.server.netty.socket;
import io.netty.bootstrap.ServerBootstrap;
import io.netty.channel.ChannelFuture;
import io.netty.channel.ChannelFutureListener;
import io.netty.channel.ChannelOption;
import io.netty.channel.EventLoopGroup;
import io.netty.channel.nio.NioEventLoopGroup;
import io.netty.channel.socket.nio.NioServerSocketChannel;
import filter.netty.org.framework.lazy.cloud.network.heartbeat.server.NettyServerFilter;
public class NettyOnCloudNettyServerSocket {
private final EventLoopGroup bossGroup = new NioEventLoopGroup();
private final EventLoopGroup workerGroup = new NioEventLoopGroup();
private final NettyServerFilter nettyServerFilter;// 通道业务处理
private ChannelFuture channelFuture;
public NettyOnCloudNettyServerSocket(NettyServerFilter nettyServerFilter) {
this.nettyServerFilter = nettyServerFilter;
}
/**
* 启动服务端
*
* @throws Exception
*/
public void startServer(int serverPort) throws Exception {
try {
ServerBootstrap b = new ServerBootstrap();
b.group(bossGroup, workerGroup).channel(NioServerSocketChannel.class)
// 给服务端channel设置属性
.option(ChannelOption.SO_BACKLOG, 128)
.childOption(ChannelOption.SO_KEEPALIVE, true)
.childHandler(nettyServerFilter)
;
channelFuture = b.bind(serverPort).sync();
channelFuture.addListener((ChannelFutureListener) channelFuture -> {
// 服务器已启动
});
channelFuture.channel().closeFuture().sync();
} finally {
shutdown();
// 服务器已关闭
}
}
public void shutdown() {
if (channelFuture != null) {
channelFuture.channel().close().syncUninterruptibly();
}
if ((bossGroup != null) && (!bossGroup.isShutdown())) {
bossGroup.shutdownGracefully();
}
if ((workerGroup != null) && (!workerGroup.isShutdown())) {
workerGroup.shutdownGracefully();
}
}
}
客户端通过class NettyClientSocket 连接服务端
package org.framework.lazy.cloud.network.heartbeat.client.netty.socket;
import io.netty.bootstrap.Bootstrap;
import io.netty.channel.Channel;
import io.netty.channel.ChannelFuture;
import io.netty.channel.ChannelFutureListener;
import io.netty.channel.EventLoopGroup;
import io.netty.channel.nio.NioEventLoopGroup;
import io.netty.channel.socket.nio.NioSocketChannel;
import lombok.Getter;
import lombok.extern.slf4j.Slf4j;
import org.framework.lazy.cloud.network.heartbeat.client.application.ClientChangeEvent;
import filter.netty.org.framework.lazy.cloud.heartbeat.client.NettyClientFilter;
import org.framework.lazy.cloud.network.heartbeat.common.MessageType;
import org.framework.lazy.cloud.network.heartbeat.common.NettyProxyMsg;
import adapter.org.framework.lazy.cloud.network.heartbeat.common.ChannelTypeAdapter;
import advanced.org.framework.lazy.cloud.network.heartbeat.common.HandleChannelTypeAdvanced;
import utils.org.framework.lazy.cloud.network.heartbeat.common.ChannelAttributeKeyUtils;
import java.util.List;
import java.util.concurrent.TimeUnit;
/**
* 客户端连接服务端
*/
@Slf4j
public class NettyClientSocket {
private static final EventLoopGroup eventLoopGroup = new NioEventLoopGroup();
/**
* 服务端host
*/
private final String inetHost;
/**
* 服务端端口
*/
private final int inetPort;
/**
* 当前客户端id
*/
@Getter
private final String clientId;
/**
* nacos配置信息处理应用
*/
@Getter
private final ClientNettyConfigApplication clientChangeEvent;
private final List<HandleChannelTypeAdvanced> handleChannelTypeAdvancedList; // 处理服务端发送过来的数据类型
public NettyClientSocket(String inetHost, int inetPort, String clientId, ClientNettyConfigApplication clientChangeEvent, List<HandleChannelTypeAdvanced> handleChannelTypeAdvancedList) {
this.inetHost = inetHost;
this.inetPort = inetPort;
this.clientId = clientId;
this.clientChangeEvent = clientChangeEvent;
this.handleChannelTypeAdvancedList = handleChannelTypeAdvancedList;
}
public void newConnect2Server() throws InterruptedException {
newConnect2Server(inetHost, inetPort, clientId, clientChangeEvent);
}
protected void newConnect2Server(String inetHost, int inetPort, String clientId, ClientNettyConfigApplication clientChangeEvent) throws InterruptedException {
Bootstrap bootstrap = new Bootstrap();
bootstrap.group(eventLoopGroup)
.channel(NioSocketChannel.class)
.handler(new NettyClientFilter(new ChannelTypeAdapter(handleChannelTypeAdvancedList), this))
;
log.info("连接服务端IP:{},连接服务端端口:{}", inetHost, inetPort);
ChannelFuture future = bootstrap.connect(inetHost, inetPort);
Channel channel = future.channel();
log.info("使用的客户端ID:" + clientId);
future.addListener((ChannelFutureListener) futureListener -> {
if (futureListener.isSuccess()) {
log.info("连接服务端成功");
// 告诉服务端这条连接是client的连接
NettyProxyMsg nettyMsg = new NettyProxyMsg();
nettyMsg.setType(MessageType.TCP_REPORT_CLIENT_CONNECT_SUCCESS);
nettyMsg.setClientId(clientId);
nettyMsg.setData((clientId).getBytes());
ChannelAttributeKeyUtils.buildClientId(channel, clientId);
channel.writeAndFlush(nettyMsg);
// 在线
clientChangeEvent.clientOnLine(clientId);
} else {
log.info("每隔2s重连....");
// 离线
clientChangeEvent.clientOffLine(clientId);
futureListener.channel().eventLoop().schedule(() -> {
try {
newConnect2Server(inetHost, inetPort, clientId, clientChangeEvent);
} catch (InterruptedException e) {
e.printStackTrace();
}
}, 2, TimeUnit.SECONDS);
}
});
}
/**
* 关闭连接
*/
public void shutdown() {
if ((eventLoopGroup != null) && (!eventLoopGroup.isShutdown())) {
eventLoopGroup.shutdownGracefully();
}
}
}
通过客户端与服务端建立的连接进行访客端口绑定
上述连接会形成一个channel,我们称之为通道(本文中简单叫**心跳通道**)
第一步 页面GUI进行新增访客端口而后将访客端口与客户端绑定(如果客户端已经启动,使用页面客户端下线触发第二步)
第二步 客户端与访客端口绑定后使用**心跳通道** 发送客户端告诉客户端,你帮我绑定你本地真实端口
第三步 访客访问,访客通过访客端口访问数据,此时访客通道打开截取访客发送的数据,然后将数据发送给客户真实通道,数据返回后再返回给访客通道
功能
1.内网穿透
2.服务端自主下发数据到客户端
3.流量监控
项目结构
| 模块 | 版本 | 描述 |
|---|---|---|
| wu-lazy-cloud-heartbeat-common | 1.3.0-JDK17-SNAPSHOT | 内网穿透公共模块(声明接口、枚举、常量、适配器、解析器) |
| wu-lazy-cloud-heartbeat-client | 1.3.0-JDK17-SNAPSHOT | 客户端(支持二次开发) |
| wu-lazy-cloud-heartbeat-server | 1.3.0-JDK17-SNAPSHOT | 服务端(支持二次开发) |
| wu-lazy-cloud-heartbeat-client-start | 1.3.0-JDK17-SNAPSHOT | 客户端样例 |
| wu-lazy-cloud-heartbeat-server-start | 1.3.0-JDK17-SNAPSHOT | 服务端样例 |
使用技术
| 框架 | 版本 | 描述 |
|---|---|---|
| spring-boot | 3.0.7 | springboot框架 |
| wu-framework-web | 1.3.0-JDK17-SNAPSHOT | web容器 |
| Lazy -ORM | 1.3.0-JDK17-SNAPSHOT | ORM |
| mysql-connector-j | 8.0.33 | mysql驱动 |
| wu-authorization-server-platform-starter | 1.3.0-JDK17-SNAPSHOT | 用户授权体系 |
使用环境
IDEA
Mac、Windows
JAVA >=13
MAVEN
启动
docker启动
docker run -d -it -p 18080:18080 --name wu-lazy-cloud-heartbeat-server registry.cn-hangzhou.aliyuncs.com/wu-lazy/wu-lazy-cloud-heartbeat-server:1.3.0-JDK17-SNAPSHOT
http://127.0.0.1:18080/swagger-ui/index.html
源码启动
页面操作
服务端渗透
客户端渗透
报表
Description
wu-lazy-cloud-network 是一款基于(wu-framework-parent)孵化出的项目,内部使用Lazy ORM操作数据库,主要功能是网络穿透,对于没有公网IP的服务进行公网IP映射 使用环境JDK17 Spring Boot 3.0.2
Languages
Java
94.6%
Vue
4.5%
SCSS
0.4%
JavaScript
0.3%















